山东极视角科技股份有限公司于2026年1月20日向香港联交所主板提交上市申请,中信证券为独家保荐人。该公司成立于2015年6月正规实盘配资,是一家人工智能平台型企业,专注于计算机视觉算法。至今已完成11轮融资,共募集资金3.84亿元,投后估值达23.1亿元。

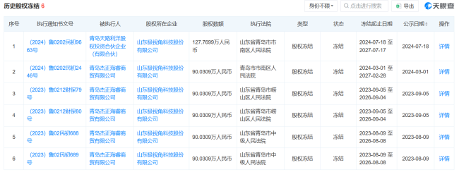
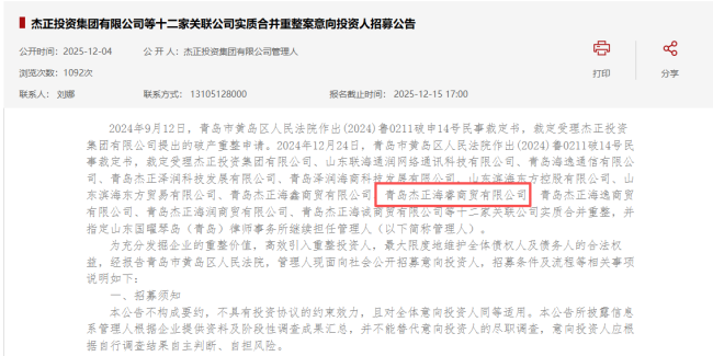
然而,极视角在A股上市辅导期间遇到一些问题。2024年1月,极视角在青岛证监局进行IPO辅导备案,拟在科创板上市。但经过两年辅导,至今未递交上市材料。中泰证券指出,公司仍需加强对信息披露和内部控制等相关法律法规的学习。此外,极视角的股权多次被司法冻结,一名股东的控股股东已于2024年进入破产重整程序。

极视角的收入虽然快速增长,但盈利能力薄弱。2022年至2024年及2025年前三季度,极视角的收入分别为1.02亿元、1.28亿元、2.57亿元及1.36亿元,净利润分别为-0.61亿元、-0.56亿元、0.09亿元、-0.36亿元。尽管2024年实现盈利,但净利率仅为3.38%。截至2025年9月末,极视角的未弥补亏损已达1.35亿元。

极视角的收入及利润高度集中于下半年,元鼎证券_正规靠谱的线上股票配资平台-新手专享配资方案,零风险入门尤其是第四季度。报告期内,极视角下半年产生的收入平均占年度收入的75%至90%。以2024年为例,极视角第四季度实现收入1.78亿元,占全年总收入的69.13%,录得净利润0.36亿元,相较前三季度净亏损0.27亿元,盈利能力大幅提升。

此外,极视角现金流层面的压力较大。报告期内,其经营活动产生的现金流量净额分别为-0.79亿元、-0.73亿元、-0.18亿元及-0.21亿元,累计净流出1.91亿元。应收账款周转天数从99天骤增至379天,坏账准备余额也大幅增长。

极视角的研发费用含“科”量存疑。报告期内,研发费用累计1.63亿元,仅占期间总收入的26.24%。同时,极视角持续削减研发团队,研发费用中的人工成本从0.26亿元降至0.19亿元。技术服务费则从2022年的0.06亿元激增至2024年的0.23亿元,2025年前三季度同比激增近4倍至0.34亿元。极视角的技术服务费包括云服务器、数据标注服务、外包研发服务及其他相关服务的服务费正规实盘配资,但未披露各项费用的比例。
元鼎证券_正规靠谱的线上股票配资平台-新手专享配资方案,零风险入门提示:本文来自互联网,不代表本网站观点。